En tant que leader dans le segment des barbecues à gaz, il est important pour Weber de continuer à améliorer la fonctionnalité des barbecues à gaz. La semaine dernière, CookOut News a rapporté un assemblage à double brûleur que Weber a développé et maintenant il y a un autre brevet pour améliorer les barbecues à gaz. Un brevet a été publié montrant que Weber a développé une boîte de fumage en forme de L avec un bac à eau attaché pour augmenter les temps de fumée.
Boîte de fumage
Une boîte de fumage est un moyen simple d’ajouter plus de fumée à vos aliments lorsque vous les grillez. De forme traditionnellement rectangulaire, elles sont remplies de copeaux de bois ou de granulés qui couvent à l’intérieur pour créer de la fumée. Ils sont le plus souvent utilisés avec des barbecues à gaz, mais peuvent être utilisés dans d’autres applications telles que les grills à granulés ou même les grills électriques.
Conception en forme de L
Bien que la conception rectangulaire de base fonctionne bien et soit même intégrée dans certains grills à gaz, Weber pense qu’il peut y avoir des avantages à une conception en forme de L.

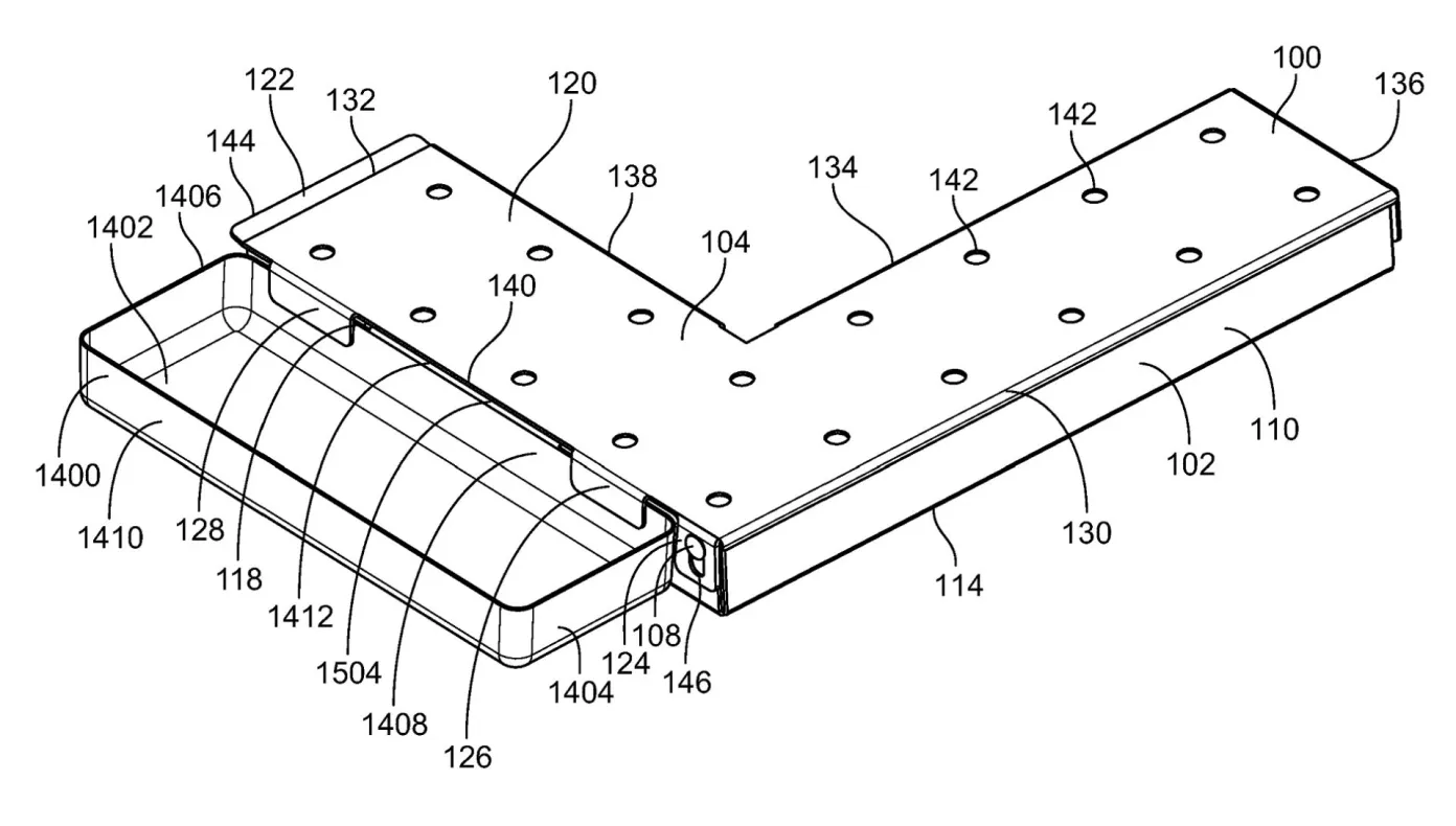
Comme on peut le voir dans le schéma ci-dessus du brevet de Weber, la boîte de fumage est placée à travers les déflecteurs de graisse dans un grill à gaz. Elle est positionnée de manière à ce que le côté gauche de la et du bac à eau repose sur une barre déflecteur (étiquetée 2224) sans brûleur en dessous. Le côté droit de la boîte repose sur une barre déflecteur (étiquetée 2222) au-dessus d’un brûleur (étiquetée 2214), créant des zones de chaleur dans la boîte.
Zones de fumage
L’emplacement indiqué ci-dessus fait en sorte qu’il y ait 3 zones dans la boîte de fumage. Les zones sont nommées comme suit dans le brevet.
- Zone d’ignition – étiquetée 1308
- Zone de transition – étiquetée 1310
- Zone d’arrivée – étiquetée 1312
Ce qui est avantageux avec cette configuration multi-zones, c’est qu’elle ralentit le taux de combustion dans la boîte, ce qui permet des temps de fumage plus longs. La zone d’ignition se trouve directement au-dessus d’un brûleur, de sorte que la fumée commence d’abord là, puis suit lentement la forme en L. Elle finit par atteindre la zone d’arrivée, une fois que tout le contenu de la boîte a fini de brûler.
Bac à eau
Le bac à eau (étiqueté 1400) qui est attaché à la conception de la boîte à fumoir dans la figure ci-dessus est détachable pour le rendre plus facile à remplir. Les gens utilisent souvent des casseroles d’eau pour augmenter la teneur en humidité dans le grill, dans l’espoir de rendre leur nourriture plus juteuse. Le brevet allègue que l’augmentation de la teneur en humidité permet à la fumée de mieux adhérer aux aliments cuits.
C’est un beau design car il range le bac à eau, sous les grilles du grill. Souvent, lorsqu’une casserole à eau est utilisée pour fumer, elle prend de l’espace de cuisson car elle est simplement placée sur les grilles du gril.
Résumé
Si la conception de la boîte à fumoir en forme de L fonctionne comme le prétend le brevet, c’est un excellent moyen d’augmenter les temps de fumée dans un grill à gaz. Le bac à eau attaché est une solution élégante pour libérer plus d’espace de barbecue. Comme pour tous les brevets, nous ne savons pas si cela arrivera un jour sur le marché. Nous espérons cependant que c’est le cas.
Discussion